Project Description
Gun Port – SSGP Sliding
Description
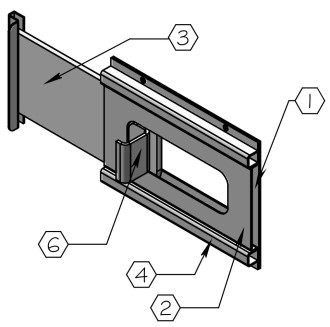
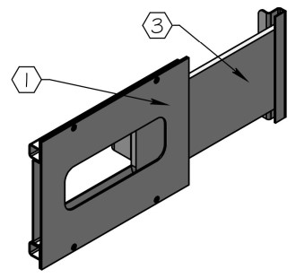
Pivot gun ports are manufactured using 12ga. stainless steel 8″ diameter face plates with 3 3/8″ diameter port hole. The pivot plate has an open and close knob with removable locking pin. The port hole is covered with 1/4″ stainless steel pivot plates for level 1 thru 3 and HI-Hard ballistic steel for levels 4 thru 8. Sliding gun ports are manufactured using 14ga. Our gun ports are prime painted steel base with 16ga prime painted steel casing at face. The sliding opening is at 5″x 2″ and is protected with a ballistic steel and latch.
Key Stats
| Ballistic Level (UL) | 1 to 8 |
|---|---|
| Application | Interior |
| Finish | #3 Satin Brushed |
| Primary Material | Stainless Steel |






